Подшипники гост
Интернет-магазин
8-800-250-16-58
Обратный звонок

Заказ обратного звонка




Эл. почта:
info@amost.ru
Свои заказы Корзина пуста





Получать прайс-лист на email:

Чтобы отписаться от рассылки, введите e-mail, на который вы получаете наши письма:

 

Поиск подшипников

Масса и размеры

Внутренний диаметр d, мм

От  до 

Наружный диаметр D, мм

От  до 

Ширина b, мм

Применяемость

Раздел каталога

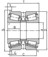
Подшипник роликовый радиально-упорный конический двухрядный с бортом на наружном кольце

697928 Л1 ГОСТ 520

Отечественный
Импортный

Производитель



уточнять наличие
Обозначение 697928 Л1 ГОСТ 520
Внутренний диаметр, d (мм) 140
Наружный диаметр, D (мм) 210/218
Ширина, В (мм) 100
Масса, m (кг) 11.3
Грузоподъемность динамическая, C (kN) 451
Грузоподъемность статическая, Co (kN) 945
Ном. частота вращен. при пластич. смазке, n grease (1/min) 1500
Марка стали, Материал ШХ-15
Ном. частота вращен. при жидк. смазке, n oil (1/min) 2400
Размеры ролика, dxl (мм) 16.85/17.6х28.4
Количество роликов, N роликов 51
697928 Л1 ГОСТ 520
Товар добавлен в корзину
Перейти в корзину ×